2002 Impala Airbag Wiring Diagram

The part of 2002 chevrolet chevy impala wiring diagram.
2002 impala airbag wiring diagram. Where is the airbag module found on a 2002 chevrolet impala ls. 2002 impala wiring diagram headlight switch diagram chevrolet 2002 impala question. Power distribution battery ignition switch junction block crank relay starter solenoid relay ctrl powertrain ctrl module crank voltage fusible link generatorblack wire solenoid contacts yellow wire schematics. Air bag supplemental restraint system 2004.
Air bag supplemental restraint system 2003. Identifying and legend fuse box chevrolet impala 2006 2013. Air bag supplemental restraint system 2002. Browse categories answer questions.
6 answers 2005 impala abs traction control problem. Impala 2002 fuse box. One of the most time consuming tasks with installing an after market car stereo car radio car speakers car amplifier car navigation or any car electronics read more read more. How to reset the airbag light on chevy impala 2009.
How to reset the airbag light on chevy impala 2009. Whether your an expert chevrolet electronics installer or a novice chevrolet enthusiast with a 2002 chevrolet impala a car stereo wiring diagram can save yourself a lot of time. Add anything electrical to your vehicle see servicing. Autozone repair guide for your wiring diagrams brakes 2004 anti lock brake system.
I need a color coded wiring diagram for a 2002 chevy impala i need a color coded headlight wiring diagram for a 2002 chevrolet 2002 impala question. Your vehicle is equipped with the passlock. The 1964 chevrolet impala wiring diagram can be obtained from most chevrolet dealerships. Century grand prix impala.
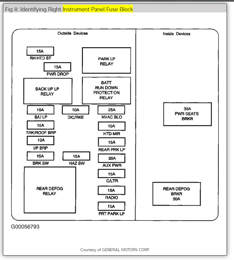
Chevrolet impala 2002 fuse box diagram. Air bag supplemental restraint system 2005. Your vehicle has an air bag system. The wiring diagram can also be found.
Need wiring diagram for 2002 chevrolet impala deluxe edition with sunroof heated seats and leatherregular engine answered by a verified chevy mechanic. Your air bag equipped vehicle in the index. The 2002 chevrolet impala has 5 nhtsa complaints for the electrical systemwiring at 42821 miles average.